Báo cáo đề xuất cấp giấy phép môi trường (GPMT) xí nghiệp chế biến thủy sản xuất khẩu. Sản phẩm của công ty gồm 3 mặt hàng chính: Tôm đông, tôm hấp, tôm Nobashi và Skewer với công suất thiết kế: 2.000 tấn thành phẩm/năm.
Ngày đăng: 29-10-2025
454 lượt xem
Chương I............................................................ 7
THÔNG TIN CHUNG VỀ DỰ ÁN......................................... 7
1. Tên Chủ dự án............................................................... 7
2. Tên dự án............................................................................. 7
3. Công suất, công nghệ, sản phẩm sản xuất của xí nghiệp.. 9
3.1. Công suất hoạt động của xí nghiệp.................................. 9
3.2. Công nghệ sản xuất của xí nghiệp.............................. 10
3.3. Sản phẩm của xí nghiệp................................................... 16
4. Nguyên liệu, nhiên liệu, điện năng, hóa chất sử dụng, nguồn cung cấp điện, nước của xí nghiệp...16
5. Các thông tin khác liên quan đến Xí nghiệp....................... 18
5.1. Hiện trạng quản lý, sử dụng đất của Xí nghiệp........................ 18
5.2. Các hạng mục công trình chính của xí nghiệp............................ 18
5.3. Các hạng mục công trình phụ trợ của dự án................................ 19
5.4. Các hạng mục công trình xử lý chất thải và bảo vệ môi trường...... 20
5.5. Danh mục máy móc, thiết bị tại xí nghiệp.................................. 21
SỰ PHÙ HỢP CỦA XÍ NGHIỆP VỚI QUY HOẠCH, KHẢ NĂNG CHỊU TẢI CỦA MÔI TRƯỜNG....... 23
2. Sự phù hợp của xí nghiệp đối với khả năng chịu tải của môi trường......... 24
3. Khả năng chịu tải của nguồn tiếp nhận nước thải................................ 24
4. Khả năng chịu tải của nguồn tiếp nhận khí thải............................... 30
KẾT QUẢ HOÀN THÀNH CÁC CÔNG TRÌNH, BIỆN PHÁP BẢO VỆ MÔI TRƯỜNG CỦA XÍ NGHIỆP.......32
1. Công trình, biện pháp thoát nước mưa, thu gom và xử lý nước thải......... 32
1.1. Thu gom, thoát nước mưa................................................................. 32
1.2. Thu gom, thoát nước thải................................................................. 33
1.3. Xử lý nước thải................................................................................. 35
2. Công trình, biện pháp xử lý bụi, khí thải............................................. 48
3. Công trình, biện pháp lưu giữ, xử lý chất thải rắn thông thường............. 51
4. Công trình, biện pháp lưu giữ, xử lý chất thải nguy hại.......................... 53
5. Công trình, biện pháp giảm thiểu tiếng ồn, độ rung......................... 54
6. Phương án phòng ngừa, ứng phó sự cố môi trường.............................. 55
7. Công trình, biện pháp bảo vệ môi trường khác............................. 58
NỘI DUNG ĐỀ NGHỊ CẤP GIẤY PHÉP MÔI TRƯỜNG............................ 59
1. Nội dung đề nghị cấp phép đối với nước thải................................... 59
2. Nội dung đề nghị cấp phép đối với khí thải............................... 60
3. Nội dung đề nghị cấp phép đối với tiếng ồn, độ rung...................... 62
KẾT QUẢ QUAN TRẮC MÔI TRƯỜNG CỦA XÍ NGHIỆP................ 63
1. Kết quả quan trắc môi trường định kỳ đối với nước thải............. 63
2. Kết quả quan trắc môi trường định kỳ đối với bụi, khí thải.................... 67
2.1. Kết quả phân tích chất lượng không khí năm 2022, năm 2023.......... 67
Chương VI....................................................................................... 70
CHƯƠNG TRÌNH QUAN TRẮC MÔI TRƯỜNG CỦA XÍ NGHIỆP........ 70
1. Kế hoạch vận hành thử nghiệm công trình xử lý chất thải............. 70
1.1. Thời gian dự kiến vận hành thử nghiệm................................... 70
2. Chương trình quan trắc chất thải định kỳ theo quy định của pháp luật....70
3. Kinh phí thực hiện quan trắc môi trường hàng năm.......... 72
Chương VII................................................................................. 73
KẾT QUẢ KIỂM TRA, THANH TRA..................................... 73
VỀ BẢO VỆ MÔI TRƯỜNG ĐỐI VỚI XÍ NGHIỆP................... 73
Chương VIII............................................................. 74
CAM KẾT CỦA XÍ NGHIỆP.................. 74
Chương I
THÔNG TIN CHUNG VỀ CƠ SỞ
Công ty Cổ phần thủy sản
- Địa chỉ văn phòng: ......xã Tân Phong, thị xã Giá Rai, tỉnh Bạc Liêu.
- Người đại diện theo pháp luật của công ty: Ông. ......., chức vụ: Tổng Giám đốc; Căn cước công dân số ......., cấp ngày 11/5/2023;
- Địa chỉ thường trú:.....Phường 7, thành phố Bạc Liêu, tỉnh Bạc Liêu.
- Điện thoại:......
- Công ty Cổ phần thủy sản đã được UBND tỉnh cấp Giấy chứng nhận đầu tư số ..... chứng nhận lần đầu ngày 03/7/2007 để thực hiện dự án Xí nghiệp chế biến thủy sản xuất khẩu và được Sở Kế hoạch và Đầu tư cấp Giấy chứng nhận đăng ký kinh doanh công ty cổ phần số ..... đăng ký lần thứ 8 ngày 26/02/2016.
Xí nghiệp chế biến thủy sản xuất khẩu
- Giấy chứng nhận đăng ký địa điểm kinh doanh; mã số địa điểm kinh doanh số ..., cấp lần đầu ngày 21 tháng 8 năm 2013 và đăng ký thay đổi lần thứ 2 ngày 05 tháng 10 năm 2023 do Phòng Đăng ký kinh doanh Sở Kế hoạch và Đầu tư cấp.
- Địa chỉ:.. Khóm Trà Kha, Phường 8, thành phố Bạc Liêu, tỉnh Bạc Liêu. Vị trí giáp ranh hiện hữu của dự án như sau:
+ Phía Đông: Giáp với đất hộ dân;
+ Phía Tây: Giáp với đất hộ dân;
+ Phía Nam: Giáp với đất hộ dân;
+ Phía Bắc: Giáp với Quốc lộ 1A.
Bảng 1. Tọa độ vị trí của dự án
|
Ký hiệu |
Tọa độ (Hệ toạ độ VN 2000, múi chiếu 3 độ) |
|
|
X (m) |
Y (m) |
|
|
A |
1028155.057 |
576659.762 |
|
B |
1028028.592 |
576672.823 |
|
C |
1028032.255 |
576640.217 |
|
D |
1028155.281 |
576629.114 |
(Nguồn: Chủ đầu tư cung cấp)
- Sơ đồ khu vực, vị trí của dự án:
Hình 1. Vị trí của dự án
- Các loại giấy phép có liên quan đến môi trường, phê duyệt dự án:
+ Giấy chứng nhận đăng ký địa điểm kinh doanh; mã số địa điểm kinh doanh số ...., cấp lần đầu ngày 21 tháng 8 năm 2013 và đăng ký thay đổi lần thứ 2 ngày 05 tháng 10 năm 2023 do Phòng Đăng ký kinh doanh Sở Kế hoạch và Đầu tư cấp.
+ Quyết định số 206-QĐ/UB ngày 04/8/1997 của Chủ tịch UBND tỉnh về việc giao đất và cấp giấy chứng nhận quyền sử dụng đất cho Công ty xuất nhập khẩu thủy sản (nay là Công ty cổ phần thủy sản .....).
+ Giấy chứng nhận quyền sử dụng đất do UBND tỉnh Bạc Liêu cấp ngày 04/8/1997.
+ Quyết định số 1645/QĐ-UB ngày 13/12/1999 của UBND tỉnh về việc phê duyệt báo cáo đánh giá tác động môi trường của Xí nghiệp chế biến thủy sản xuất khẩu thuộc Công ty.....
+ Quyết định số 1169/QĐ-UBND ngày 12/6/2008 của UBND tỉnh về việc phê duyệt báo cáo đánh giá tác động môi trường bổ sung của Xí nghiệp chế biến thủy sản.
+ Công văn số 1683/UBND-TH ngày 25/7/2011 của UBND tỉnh về việc điều chỉnh chương trình giám sát môi trường của Xí nghiệp chế biến thủy sản xuất khẩu.
+ Giấy xác nhận số 03/GXN-STNMT ngày 11/9/2014 của Sở Tài nguyên và Môi trường về việc đã thực hiện các công trình, biện pháp bảo vệ môi trường phục vụ giai đoạn vận hành.
+ Sổ đăng ký chủ nguồn thải chất thải nguy hại, mã số QLCTNH: 95.000016.T cấp ngày 15/8/2014.
+ Giấy phép khai thác sử dụng nước dưới đất số 71/GP-UBND ngày 27/9/2023 của UBND tỉnh.
+ Quyết định số 371/QĐ-UBND ngày 02/10/2023 của UBND tỉnh về việc phê duyệt tiền cấp quyền khai thác tài nguyên nước.
- Quy mô của dự án đầu tư (theo tiêu chí phân loại dự án đầu tư về môi trường).
+ Công suất của dự án: 2.000 tấn sản phẩm/năm.
+ Dự án thuộc dự án đầu tư nhóm II theo quy định tại mục số 1 Phần I Phụ lục IV Danh mục các dự án đầu tư nhóm II có nguy cơ tác động xấu đến môi trường quy định tại khoản 4 Điều 28 Luật Bảo vệ môi trường ban hành kèm theo Nghị định số 08/2022/NĐ-CP ngày 10/01/2022 của Chính phủ quy định chi tiết một số điều của Luật Bảo vệ môi trường (cụ thể dự án thuộc loại hình sản xuất, kinh doanh, dịch vụ có nguy cơ gây ô nhiễm môi trường với công suất trung bình quy định tại Cột 4 Phụ lục II ban hành kèm theo Nghị định số 08/2022/NĐ-CP). Vì vậy, dự án thuộc đối tượng phải lập hồ sơ đề nghị cấp giấy phép môi trường và thuộc thẩm quyền cấp giấy phép của UBND tỉnh Bạc Liêu.
- Nguồn vốn: Tổng vốn đầu tư 10.000.000.000 đồng (Bằng chữ: Mười tỷ đồng).
- Công suất thiết kế: 2.000 tấn thành phẩm/năm và mỗi năm hoạt động khoảng 300 ngày. Sản phẩm của Công ty gồm 3 mặt hàng chính:
+ Tôm đông 1.000 tấn sản phẩm/năm;
+ Tôm hấp 500 tấn sản phẩm/năm;
+ Tôm Nobashi và Skewer 500 tấn sản phẩm/năm (quy trình sản xuất mới).
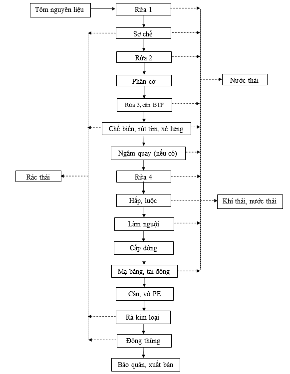
* Quy trình công nghệ sản xuất tôm tươi đông lạnh:
Sơ đồ 1. Quy trình sản xuất tôm tươi đông lạnh
- Giải thích quy trình:
+ Tiếp nhận nguyên liệu: Là khâu nhận tôm nguyên liệu và được cân xác định trọng lượng ban đầu, tiến hành rửa sơ bộ lần 1.
+ Tôm sơ chế: Tôm nguyên con còn đầu được sơ chế bằng cách rửa sạch, phân cở, lặt đầu, rút tim trước khi chuyển sang công đoạn tiếp theo. Rửa và chế biến. Tùy theo nhu cầu mà tiến hành công đoạn tinh chế, xẻ lưng các sản phẩm theo yêu cầu khách hàng.
+ Tôm được chế biến theo hình thức bỏ đầu lột bỏ hết vỏ, hay lột một phần còn chừa đốt cuối và đuôi. Hoặc tôm được phân nhóm sản phẩm dựa trên cách chế biến khác thực hiện trên phần thịt của thân tôm, như xẻ phần thân ra làm 2 phần hay thực hiện cắt 1 đường thẳng ở lưng tôm giúp việc lột dễ dàng hơn,…sau đó rửa sạch trước khi chuyển sang công đoạn tiếp theo.
+ Tôm tươi đông lạnh: Tôm sau khi chế biến thì được đem đi cấp đông IQF và cân, xếp hộp, cấp đông, mạ băng, tách khuôn,... trước khi được bao bọc bên ngoài, cuối cùng sản phẩm mang đi rà kim loại nhằm loại bỏ các sản phẩm có kim loại khỏi quy trình sản xuất. Sản phẩm sau dò kim loại sẽ đóng thùng carton đưa vào kho lạnh bảo quản ở nhiệt độ £ -180C chờ xuất bán.
* Quy trình sản xuất tôm hấp:
Sơ đồ 2. Quy trình sản xuất tôm hấp
- Giải thích quy trình:
+ Tiếp nhận nguyên liệu: Là khâu nhận tôm nguyên liệu và được cân xác định trọng lượng ban đầu, tiến hành rửa sơ bộ lần 1.
+ Tôm sơ chế: Tôm nguyên con còn đầu được sơ chế bằng cách rửa sạch, phân cở, lặt đầu, rút tim trước khi chuyển sang công đoạn tiếp theo. Rửa và chế biến. Tùy theo nhu cầu mà tiến hành công đoạn tinh chế, xẻ lưng các sản phẩm theo yêu cầu khách hàng.
+ Tôm được chế biến theo hình thức bỏ đầu lột bỏ hết vỏ, hay lột một phần còn chừa đốt cuối và đuôi. Hoặc tôm được phân nhóm sản phẩm dựa trên cách chế biến khác thực hiện trên phần thịt của thân tôm, như xẻ phần thân ra làm 2 phần hay thực hiện cắt 1 đường thẳng ở lưng tôm giúp việc lột dễ dàng hơn,… sau đó rửa sạch trước khi chuyển sang công đoạn tiếp theo.
+ Tôm hấp, luộc: Tôm sau sơ chế thì được đem hấp, luộc, làm nguội, tiến hành cấp đông IQF, mạ băng, tái đông, cân trước khi được bao bọc bên ngoài, cuối cùng sản phẩm mang đi rà kim loại, sau đó sản phẩm được đóng thùng đưa vào kho lạnh đông bảo quản ở nhiệt độ ≤ -180C chờ xuất bán.
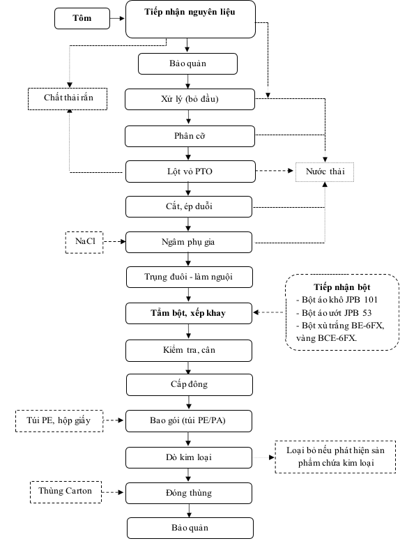
* Quy trình công nghệ sản xuất tôm giá trị gia tăng (tôm Nobashi và Skewer, quy trình sản xuất mới):
Sơ đồ 3: Quy trình sản xuất tôm Nobashi và Skewer
- Giải thích quy trình:
+ Tiếp nhận nguyên liệu: Là khâu nhận nguyên liệu và được cân xác định trọng lượng ban đầu, tiến hành rửa sơ bộ lần 1.
+ Bảo quản: Nguyên liệu sau khi được tiếp nhận sẽ tiến hành bảo quản. Đây là công đoạn rất quan trọng vì nó quyết định rất lớn đến chất lượng sản phẩm đầu ra.
+ Chế biến: Tôm nguyên con còn đầu được sơ chế bằng cách lặt đầu, rút gân trước khi chuyển sang công đoạn tiếp theo. Cách lặt đầu là tay trái cầm tôm, tay phải cầm dao, dùng đầu nhọn của dao tách phần vỏ tiếp giáp giữa đầu và thân để tách đầu ra khỏi thân. Sau đó dùng tay ấn nhẹ mũi dao vào chính giữa đầu và thân để rút ruột ở thân tôm ra. Dùng dao cạo sạch màng đen, gạch tôm dính ở mép thịt đầu. Rửa sạch nguyên liệu rồi chuyển sang công đoạn tiếp theo.
+ Phân cỡ tôm không có đầu: Nguyên liệu tôm không đầu được phân cỡ theo định dạng gam/con hay con/1 bọc. Chuyển từng con tôm sang các công đoạn tiếp theo.
+ Lột vỏ PTO: Bằng cách lột vỏ, chừa đốt cuối và đuôi, chích bỏ gân, sau đó bảo quản tôm trong nước đá sạch T0£ 60C. Tiến hành kiểm tra loại bỏ tạp chất vỏ, chân tôm. Sau đó rửa tôm qua nước sạch T0£ 100C.
+ Sản phẩm PTO duỗi tẩm bột: Cắt dưới bụng tôm 3 đường xéo và 1 đường thẳng chia đều khoảng cách, độ sâu vừa đứt chỉ đen. Ép duỗi tôm bằng dụng cụ chuyên dùng và ngâm phụ gia. Sau mỗi công đoạn, tôm được qua rửa để loại bỏ tạp chất, làm sạch. Sau đó trụng đuôi tôm và đốt cuối đến khi toàn bộ phần vỏ có màu đỏ, làm nguội trong nước đá lạnh, hoặc không trụng theo yêu cầu khách hàng.
+ Tôm sau khi qua sơ chế, ngâm phụ gia tạo vị cho tôm, trụng đuôi, làm nguội sẽ được chuyển đến công đoạn tẩm bột. Tôm được nhúng vào hỗn hợp tẩm bột gồm lăn bột khô, nhúng bột ướt và tẩm bột xù.
+ Tôm sau khi tẩm bột sẽ được xếp khay. Sản phẩm sau khi xếp khay được mang cân, cấp đông. Nhiệt độ cấp đông khoảng -400C, sau cho sản phẩm đạt nhiệt độ -180C trong khoảng thời gian 4 - 5 giờ.
+ Sau cấp đông là công đoạn bao gói và dò kim loại nhằm loại bỏ các sản phẩm có kim loại khỏi quy trình sản xuất.
+ Sản phẩm sau dò kim loại sẽ đóng thùng carton đưa vào kho lạnh đông bảo quản ở nhiệt độ £ -180C.
- Sản phẩm của Công ty gồm 3 mặt hàng chính:
+ Tôm đông 1.000 tấn sản phẩm/năm.
+ Tôm hấp 500 tấn sản phẩm/năm.
+ Tôm Nobashi và Skewer 500 tấn sản phẩm/năm (quy trình sản xuất mới).
Nhu cầu nguyên liệu phục vụ cho hoạt động sản xuất của Xí nghiệp chủ yếu là: tôm các loại. Nguồn cung ứng nguyên liệu từ các khu nuôi tôm công nghiệp trong khu vực, từ các đại lý thu mua trong và ngoài tỉnh cung ứng.
Căn cứ vào quá trình sản xuất của Xí nghiệp hiện tại ước tính định mức chế biến từ nguyên liệu cho ra thành phẩm của Xí nghiệp được trình bày tại bảng sau:
Bảng 2. Nguyên liệu đầu vào và sản phẩm đầu ra của dự án
|
Loại sản phẩm |
Nguyên liệu đầu vào Tấn/năm |
Tỷ lệ nguyên liệu/sản phẩm Tấn/năm |
Sản phẩm đầu ra Tấn/năm |
|
Tôm các loại |
3.200 |
1,6 |
2.000 |
(Nguồn: Chủ đầu tư cung cấp)
Bảng 3. Nguyên nhiên liệu và vật liệu phục vụ Xí nghiệp/năm
|
Số TT |
Tên vật liệu phụ, nhiên liệu |
Đơn vị |
Khối lượng |
|
I |
Vật liệu |
||
|
1 |
Chlorine (bao gồm cho xử lý nước thải) |
Tấn |
1,2 |
|
2 |
Gas lạnh |
Tấn |
2 |
|
3 |
Xà phòng |
Tấn |
0,7 |
|
4 |
Sodium Tripolyphosphate (STPP - tăng trọng) |
Tấn |
14 |
|
5 |
Bao bì carton |
Tấn |
120 |
|
6 |
Bao bì PA |
Tấn |
12 |
|
7 |
Bột trắng, bột xù |
Tấn |
02 |
|
8 |
Dây đai |
Tấn |
0,7 |
|
II |
Nhiên liệu |
||
|
1 |
Dầu DO (chạy máy phát điện) |
Tấn |
10-15 |
|
2 |
Nhớt |
Tấn |
0,6 |
Nguồn: Chủ đầu tư cung cấp
* Nguồn cung cấp điện, nước:
- Nhu cầu sử dụng điện:
+ Để phục vụ nhu cầu sản xuất và chiếu sáng, Xí nghiệp sử dụng điện từ mạng lưới điện quốc gia trong khu vực làm nguồn năng lượng chính.
+ Nhu cầu dùng điện như sau: Theo định mức điện của ngành chế biến thủy sản thì khi sản xuất 1 tấn thành phẩm thì tiêu thụ 954 KWh điện, ngoài ra còn có điện cho sinh hoạt và các bộ phận gián tiếp khác được tính là 2KWh/người/ngày.
Điện sản xuất (bao gồm: điện phục vụ nhu cầu sản xuất và điện thắp sáng và điện sử dụng cho hệ thống xử lý nước thải,...): 954 KW/tấn SP x 6,7 tấn SP = 6.391,8 KWh/ngày.
Điện sinh hoạt: 2 KW/người/ngày x 400 người = 800 KWh/ngày.
Như vậy tổng lượng điện năng tiêu thụ cho dự án là: 7.191,8 KWh/ngày. Trong quá trình hoạt động, Xí nghiệp đã đầu tư 02 máy phát điện dự phòng, mỗi máy với công suất lần lượt là 350 KVA và 1.000 KVA để sử dụng trong trường hợp mạng lưới điện quốc gia bị mất điện. Lượng nhiên liệu tiêu thụ khoảng 210 lít dầu/giờ (máy chạy 100% tải), tương đương 180,6 kg/giờ.
- Nhu cầu sử dụng nước: Xí nghiệp sử dụng nước giếng khoan để khai thác cung cấp cho quá trình hoạt động và được UBND cấp Giấy phép khai thác, sử dụng nước dưới đất số 71/GP-UBND ngày 27/9/2023 do UBND tỉnh Bạc Liêu cấp (Xí nghiệp có 02 giếng khoan, đường kính 90mm, chiều sâu từ 144m và 240m, lưu lượng xin khai thác tối đa 190m3/ngày đêm. Tổng lượng nước khai thác mỗi ngày khoảng 170,7m3/ngày đêm bao gồm 10,95m3 dùng cho sinh hoạt và 159,75m3 dùng cho sản xuất).
- Quy trình công nghệ xử lý nước dưới đất cấp cho hoạt động của Xí nghiệp:
Sơ đồ 4: Quy trình công nghệ xử lý nước dưới đất
* Mô tả quy trình: Nước dưới đất được bơm lên bằng máy bơm chìm. Sau đó nước được bơm lên bồn chứa nước, tại đây quá trình oxy hoá sắt Fe2+ thành sắt Fe3+. Nước sau khi khử sắt sẽ được trữ trong bồn chứa nước và cung cấp cho sản xuất và sinh hoạt tại xí nghiệp. Cụ thể như sau:
+ Nước dùng sản xuất: Theo tài liệu của một số công nghệ xử lý nước thải đối với ngành chế biến thủy sản, dệt may, giấy và bột giấy thì quá trình chế biến tôm sẽ sử dụng lượng nước là 20 – 25 m3/tấn thành phẩm (chọn 22,5 m3/tấn thành phẩm). Với quy mô chế biến tôm của xí nghiệp khi đi vào hoạt động là 2.000 tấn sản phẩm/năm (một năm hoạt động 300 ngày), tương đương 6,7 tấn thành phẩm/ngày thì lượng nước dùng cho sản xuất là: 6,7 tấn thành phẩm/ngày x 22,5 m3/tấn thành phẩm = 150,75 m3/ngày đêm.
+ Nước vệ sinh nền là 5 m3/ngày đêm.
+ Nước vệ sinh dụng cụ sản xuất là 4 m3/ngày đêm.
+ Nước dùng sinh hoạt: Xí nghiệp có 400 cán bộ và công nhân, trong đó:
Lượng nước vệ sinh tay chân và tiêu tiểu của các cán bộ và công nhân ra về sau ngày làm việc: 390 người x 25 lít/người= 9,75m3/ngày đêm.
(Nguồn: TCXDVN 33: 2006 - Cấp nước - Mạng lưới đường ống và Công trình tiêu chuẩn thiết kế).
Lượng nước sinh hoạt của 10 cán bộ và công nhân sinh hoạt tại xí nghiệp: 10 người x 120 lít/người/ngày đêm = 1,2 m3/ngày đêm.
- Tổng diện tích sử dụng đất của Xí nghiệp là 5.138,9m2 (Giấy chứng nhận quyền sử dụng đất do UBND tỉnh Bạc Liêu cấp ngày 04/8/1997) đã được UBND tỉnh cấp Quyết định số 206-QĐ/UB ngày 04/8/1997 của Chủ tịch UBND tỉnh về việc giao đất và cấp giấy chứng nhận quyền sử dụng đất cho Công ty xuất nhập khẩu thủy sản (nay là Công ty cổ phần thủy sản),… đảm bảo sử dụng đúng mục đích.
Bảng 4. Các hạng mục công trình chính
|
Số TT |
Tên hạng mục |
Diện tích (m2) |
Khối lượng theo ĐTM bổ sung được duyệt |
Khối lượng, diện tích theo GPMT |
Ghi chú |
|
1 |
Khu sơ chế |
437 |
437 |
437 |
Đã xây dựng hoàn thành |
|
2 |
Khu phân cở-xếp hộp |
345 |
345 |
345 |
Đã xây dựng hoàn thành |
|
3 |
Khu mặt hàng mới |
276 |
276 |
276 |
Đã xây dựng hoàn thành |
|
4 |
Khu cấp đông |
163 |
163 |
163 |
Đã xây dựng hoàn thành |
|
5 |
Khu ra hàng đóng gói |
360 |
360 |
360 |
Đã xây dựng hoàn thành |
|
6 |
Kho lạnh 100 tấn |
200 |
200 |
200 |
Đã xây dựng hoàn thành |
|
7 |
Kho thành phẩm 200 tấn |
400 |
400 |
400 |
Đã xây dựng hoàn thành |
|
8 |
Khu hấp |
147,4 |
147,4 |
147,4 |
Đã xây dựng hoàn thành |
|
9 |
Khu tiền đông |
195,3 |
195,3 |
195,3 |
Đã xây dựng hoàn thành |
|
10 |
Khu đông IQF |
100 |
100 |
100 |
Đã xây dựng hoàn thành |
|
Tổng |
2.623,7 |
2.623,7 |
2.623,7 |
|
|
Bảng 5. Các hạng mục công trình phụ trợ
|
Số TT |
Tên hạng mục |
Diện tích xây dựng (m2) |
Khối lượng theo ĐTM bổ sung được duyệt |
Khối lượng, diện tích theo GPMT |
Ghi chú |
|
1 |
Khu vực văn phòng |
405 |
405 |
405 |
Đã xây dựng hoàn thành |
|
2 |
Nhà để xe |
75 |
75 |
75 |
Đã xây dựng hoàn thành |
|
3 |
Kho vật tư |
80 |
80 |
80 |
Đã xây dựng hoàn thành |
|
4 |
Phòng máy |
87,5 |
87,5 |
87,5 |
Đã xây dựng hoàn thành |
|
5 |
Khu tiếp nhận nguyên liệu |
207 |
207 |
207 |
Đã xây dựng hoàn thành |
|
6 |
Đường nội bộ và sân bãi |
1.660,7 |
1.660,7 |
1.617,7 |
Đã xây dựng hoàn thành |
|
Tổng |
2.515,2 |
2.515,2 |
2.472,2 |
|
|
Bảng 6. Các hạng mục công trình xử lý chất thải và bảo vệ môi trường
|
Số TT |
Tên hạng mục |
Diện tích xây dựng (m2) |
Khối lượng theo ĐTM bổ sung được duyệt |
Khối lượng, diện tích theo GPMT |
Ghi chú |
|
1 |
Kho chứa chất thải nguy hại |
10 |
10 |
10 |
Đã xây dựng hoàn thành |
|
2 |
Kho chứa vỏ đầu tôm |
10 |
10 |
10 |
Đã xây dựng hoàn thành |
|
3 |
Kho chứa phế liệu |
16 |
16 |
16 |
Đã xây dựng hoàn thành |
|
4 |
Hố gom nước thải |
6 |
6 |
6 |
Đã xây dựng hoàn thành |
|
5 |
Hố tách dầu |
1 |
1 |
1 |
Đã xây dựng hoàn thành |
|
Tổng |
43 |
43 |
43 |
|
|
Bảng 7: Bảng thống kê tỷ lệ sử dụng đất của dự án
|
Số TT |
Tên hạng mục |
Diện tích xây dựng (m2) |
Tỷ lệ (%) |
|
1 |
Khu sơ chế |
437 |
8,50 |
|
2 |
Khu phân cở-xếp hộp |
345 |
6,71 |
|
3 |
Khu mặt hàng mới |
276 |
5,37 |
|
4 |
Khu cấp đông |
163 |
3,17 |
|
5 |
Khu ra hàng đóng gói |
360 |
7,01 |
|
6 |
Kho lạnh 100 tấn |
200 |
3,89 |
|
7 |
Kho thành phẩm 200 tấn |
400 |
7,78 |
|
8 |
Khu hấp |
147,4 |
2,87 |
|
9 |
Khu tiền đông |
195,3 |
3,80 |
|
10 |
Khu đông IQF |
100 |
1,95 |
|
11 |
Khu vực văn phòng |
405 |
7,88 |
|
12 |
Nhà để xe |
75 |
1,46 |
|
13 |
Kho vật tư |
80 |
1,56 |
|
14 |
Phòng máy |
87,5 |
1,70 |
|
15 |
Khu tiếp nhận nguyên liệu |
207 |
4,03 |
|
16 |
Đường nội bộ và sân bãi |
1.617,7 |
31,48 |
|
17 |
Kho chứa chất thải nguy hại |
10 |
0,19 |
|
18 |
Kho chứa vỏ đầu tôm |
10 |
0,19 |
|
19 |
Kho chứa phế liệu |
16 |
0,31 |
|
20 |
Hố gom nước thải |
6 |
0,12 |
|
21 |
Hố tách dầu |
1 |
0,02 |
|
Tổng |
5.138,9 |
100 |
|
>>> XEM THÊM: Thuyết minh lập dự án nhà máy chế biến nông sản xuất khẩu

Gửi bình luận của bạn